µç»°£º13570151199
´«Õ棺020-39972520
ÓÊÏ䣺hanyan@hanyancarbon.com
µØÖ·£º¹ã¶«Ê¡¹ãÖÝÊз¬Ø®Çø¶«»·½Ö·¬Ø®´óµÀ±±555ºÅÌì°²×ܲ¿ÖÐÐÄ30ºÅÂ¥6²ã
¡¡¡¡×Øéµ·ÏÎïÓÉÓÚÆäľÖÊÏËÎ¬ËØ»¯Ñ§ºÍ·á¶ÈתºÜÊʺÏÖÆÔì»îÐÔÌ¿£¬ÆäʵÔÚÎÒÃÇÑо¿Ç°ÒѾÓм¸ÖÖר鵷ÏÎïÓйý±»ÖƳɻîÐÔÌ¿¶øÓÃÓÚ¸÷ÖÖÓ¦Ó᣸߶ȶà¿×µÄ²ÄÁÏ¿ÉÒÔÓ¦ÓÃÓÚÆøÌ壬֨½ðÊô£¬»¯Ñ§Îü¸½£¬Ë®¾»»¯£¬ÒÔ¼°×÷Ϊµç»¯Ñ§Ë«²ãµçÈÝÆ÷µÄ»îÐÔ²ÄÁÏ¡£ÓÉÓÚÔ¤±¸Ìõ¼þµÄ±ä»¯£¬×Øéµ·ÏÎïÖÆ³ÉµÄ»îÐÔÌ¿Ôڵ绯ѧÐÔÖÊ·½ÃæÃ»Óгä·ÖµÄ±È½Ï¡£±¾ÆÚÎÒÃÇʹÓÃרéµÈʿǣ¬ÓÍרÏËάºÍ¿Õ¹ûÊøÍ¨¹ýÒ»²½ÎïÀí̼»¯ºÍ»î»¯À´²úÉú»îÐÔÌ¿£¬Ìá³öÁ˼¸ÖÖ»îÐÔÌ¿Àí»¯ÌØÐԵĶԱȷÖÎö¡£
¡¡¡¡×Øéµ·ÏÎïÔ¤´¦Àí
¡¡¡¡ÔÚ»·¾³±£»¤ºÍ¹¤ÒµÓ¦ÓÃÖÐ¶ÔÆøÌå´«¸ÐºÍÎü¸½£¬´¢ÄÜ×°ÖúÍË®´¦ÀíµÄÐÂÐÍ£¬¸ßЧºÍ¾¼Ã²ÄÁÏÓкܴóµÄÐèÇó¡£À´×Ôũҵ·ÏÆúÎïµÄ»îÐÔÌ¿¿Éµ÷¿×¾¶£¬Îȶ¨µÄÈȺͻúеǿ¶ÈʹÆä³ÉΪ°º¹óµÄʯīϩ»ù²ÄÁϵĺÏÊÊÌæ´úÆ·¡£»îÐÔÌ¿µÄÖÆÔì¹ý³ÌʹÓÿչûÊø£¬ÓÍרÏËάºÍרéµÈʿǷֱð½þÅÝÔÚÕôÁóË®ÖÐ24Сʱ¡£È»ºóÓÃCH3COCH3Ï´µÓÑùÆ·£¬²¢ÔÚ110¡æÏÂÔÚºæÏäÖиÉÔï24Сʱ¡£Í¼1ÏÔʾÁËÔ¤´¦Àí¹ý³ÌºóËùÓÐÔÁϵÄͼÏñ¡£

¡¡¡¡Í¼1£ºÔ¤´¦Àí»îÐÔ̿ǰÌåµÄͼÏñ¡£
¡¡¡¡Ì¼»¯ºÍ»î»¯
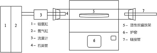
¡¡¡¡½«ÈýÖÖר鵷ÏÎïÔ¤´¦ÀíµÄÑùƷ̼»¯²¢Í¨¹ýÒ»²½·¨ÔÚ700¡æÏÂÔÚë²ÆøÁ÷ÏÂʹÓùÜʽ¯ÒÔ10¡æ/minµÄ¼ÓÈÈËÙÂʻ¡£µ±´ïµ½700¡æµÄÉ趨ζÈʱ£¬ÒÔ5L/minµÄÁ÷ËÙ´úÌæµªÆøµÄë²ÆøÁ÷£¬ÒԻ1СʱµÄ±£³Öʱ¼ä¡£Í¼2ÏÔʾÁËÒ»²½ÎïÀí»î»¯µÄʵÑé×°ÖõÄʾÒâͼ¡£È»ºóʹÑùÆ·ÀäÈ´²¢´¢´æÔÚÃܱÕÈÝÆ÷ÖÐÒÔ±ÜÃâ¿×Îü¸½´óÆøÆøÌå¡£

¡¡¡¡Í¼2£ºÒ»²½ÎïÀí»î»¯µÄÔÀíͼÉèÖá£
¡¡¡¡¼¸ÖÖ»îÐÔÌ¿µÄ·ÖÎö½á¹û
¡¡¡¡FESEM£ºÈýÖÖ»îÐÔÌ¿ÔÚ²»Í¬·Å´ó±¶ÊýϵÄÏÔ΢ͼÏñÏÔʾÔÚͼ3ÖС£¿Õ¹ûÊø»îÐÔÌ¿ÑùÆ·²úÉúµÄ·äÎÑ״ͼ°¸¿×Ï¶ÍøÂçÓëÓÅ»¯µÄ̼ÄÉÃ×¹ÜÏàËÆ¡£ÓÍרÏËά»îÐÔÌ¿ÉϵĿ×Ò²ÀàËÆÓÚ¿Õ¹ûÊø»îÐÔÌ¿µÄ·äÎÑͼ°¸¡£È»¶ø£¬ÓëÓÍרÏËά̿ºÍרéµÈÊ¿ÇÌ¿Ïà±È£¬¿Õ¹ûÊøÌ¿ÖеĿ×ÍøÂç¸ü¼ÓÍ»³öºÍ·¢Õ¹¡£×ØéµÈʿǻîÐÔÌ¿ÑùÆ·ÏÔʾ³öºÜÉÙµÄËíµÀ¿×£¬²¢º¬ÓÐ×èÈûë¿×µÄ¿É¼û΢¿é¡£·¢´ïµÄ¶à¿×ÍøÂç±íÃ÷¿ÉÒÔ³Á»ýÎü¸½Îï»òÀë×ӵĸ߱íÃæ»ý¡£

¡¡¡¡Í¼3£º²»Í¬·Å´ó±¶ÊýϹ۲쵽µÄÈýÖÖ»îÐÔÌ¿¡£
¡¡¡¡CHNS·ÖÎö£ºÔÚ̼»¯ºÍ»î»¯Ö®Ç°·ÖÎöÔ¤´¦Àí»îÐÔÌ¿µÄÔªËØ×é³É¡£Í¼4ÏÔʾÁËÔ¤´¦ÀíÑùÆ·µÄ¶¨Á¿ÔªËØ·ÖÎöµÄͼʾ¡£Ì¼ÊÇËùÓÐÑùÆ·ÖÐ×îÍ»³öµÄÔªËØ£¬×ØéµÈʿǣ¬¿Õ¹ûÊøºÍÓÍרÏËά·Ö±ðΪ48.55%£¬47.78%ºÍ47.05%¡£¿Õ¹ûÊøº¬ÓÐ7.03%µÄÇâºÍ1.36%µÄµª¡£ÓÍרÏËάº¬ÓÐ6.58%µÄÇ⣬1.73%µÄµª£¬¶ø×ØéµÈʿǺ¬ÓÐ6.26%µÄÇâºÍ1.05%µÄµª¡£¶ÔÓÚËùÓлîÐÔÌ¿ÑùÆ·£¬Áòº¬Á¿²»Ì«ÖØÒª£¬ÒòΪËüÃǺ¬Á¿µÍÓÚ1%¡£

¡¡¡¡Í¼4£ºÔ¤´¦Àí»îÐÔÌ¿µÄÔªËØ×é³É¡£
¡¡¡¡BET±íÃæ»ýºÍ¿×¾¶·Ö²¼£ºËùÊöÎü¸½ÎïÔÚÎïÀíÎü¸½¹ý³ÌÖÐʹÓÃÊǵªÆø¡£Îü¸½ºÍ½âÎüµÈÎÂÏßÓÃÓÚ¹À¼ÆÃ¿¸ö»îÐÔÌ¿µÄ±íÃæ»ýºÍ¿×·Ö²¼¡£Í¼5ÏÔʾÁËÈýÖÖ»îÐÔÌ¿µÄµÈÎÂÏßͼ¡£ÔÚµÍÏà¶ÔѹÁ¦ÏÂÔÚËùÓÐÑùÆ·ÉϹ۲쵽¿ª·ÅʽIIÐÍÖͺóÇúÏß¡£¾Ý˵£¬µ±Ç°Ìå̼»¯¹ý³ÌÖв»ÍêȫȼÉÕµ¼Ö¿×϶ÊÕËõʱ£¬ÕâÖÖ¿ª¿ÚÐԺ͵ÍÏà¶ÔѹÁ¦ÏµĵÍÎü¸½ÐÔËæ×ÅÏà¶ÔѹÁ¦µÄÔö¼Ó¶øÔö¼Ó]¡£

¡¡¡¡Í¼5£º»îÐÔÌ¿µÄµªÎü¸½ºÍ½âÎüµÈÎÂÏß¡£
¡¡¡¡Í¨¹ýÒ»²½ÎïÀí»î»¯¼¼Êõ´Ó×ÊÔ´·á¸»µÄרéµÈʿǣ¬ÓÍרÏËάºÍ¿Õ¹ûÊøÖÐÖÆÔì»îÐÔÌ¿¡£½á¹û±íÃ÷£¬ËùÓÐÔÁ϶¼¾ßÓи߰ٷֱȵĹ̶¨Ì¼£¬ÕâÓÐÖúÓÚת»¯³É»îÐÔÌ¿¡£ÓÉÕâЩÆðʼ²ÄÁÏÑÜÉúµÄÎÞ¶¨ÐλîÐÔÌ¿µÄÉúÀí»¯Ñ§ÐÔÖʰüÀ¨ÔªËØ×é³É£¬¿×µÄ¿í·äÎÑÍøÂ磬¸ß±íÃæ»ýºÍ±íÃæ¹ÙÄÜÍÅ¡£ÕâÐ©ÌØÐÔʹ²ÄÁÏÊÊÓÃÓÚÆøÌ壬֨½ðÊôºÍ»¯Ñ§Îü¸½£¬·ÏË®´¦ÀíºÍµç»¯Ñ§Ë«²ãµçÈÝÆ÷µÄ»îÐÔ²ÄÁÏ ¡£Òò´Ë£¬Í¨¹ý½«ËüÃÇÓÃ×÷ÓÃÓÚ²»Í¬Ó¦ÓõĻîÐÔÌ¿ÖÆÔìµÄÆðʼ²ÄÁÏ£¬¿ÉÒÔ´Ó·ÏÆúÇÒ¶Ô»·¾³¾ßÓÐÎÛȾµÄ·ÏÎïÖлñµÃ¾¼ÃÓÅÊÆ¡£
ÎÄÕ±êÇ©£ºÒ¬¿Ç»îÐÔÌ¿,¹û¿Ç»îÐÔÌ¿,úÖÊ»îÐÔÌ¿,ľÖÊ»îÐÔÌ¿,·äÎÑ»îÐÔÌ¿,¾»Ë®»îÐÔÌ¿.±¾ÎÄÁ´½Ó£ºhttp://m.fdcnvt.cn/hangye/hy767.html
ÍÆ¼ö×ÊѶ
- 2026-02-25»îÐÔÌ¿Îü¸½´¦ÀíÆ¡¾Æ³§·ÏË®
- 2026-02-13»îÐÔÌ¿Îü¸½´¦Àíº¬¹¯·ÏÆø
- 2026-02-04»îÐÔÌ¿ÓÃÓÚ´Ó·ÏË®ÖÐÎü¸½È¥³ý΢Á¿ïÓºÍǦ
- 2026-01-28»îÐÔÌ¿½àÑÀ·ÛרÓÃ
- 2026-01-20»îÐÔÌ¿ÔÚ·ÏÆø´¦ÀíÖеÄһЩ³£Ê¶
- 2026-01-13»îÐÔÌ¿ÔÚ¾«ÖÆÌÇÉú²úÖеÄÍÑɫЧ¹û
- 2026-01-07»îÐÔÌ¿¶Ôßäßò»ùÀë×ÓÒºÌåµÄÎü¸½ÐÔÄÜ
- 2025-12-24»îÐÔÌ¿¸ÄÐÔÔöÇ¿¶ÔÒÒõ£°±»ù·ÓµÄÎü¸½
- 2025-12-15»îÐÔÌ¿Îü¸½Âí¶µÁåËá
- 2025-11-27³¬Ï¸»îÐÔÌ¿5000Ä¿·ÛÄ©»îÐÔÌ¿
- 2025-11-26»îÐÔÌ¿ÔÚÁò»¯Ï𽺳ÄÌ×ÖеÄÓ¦ÓÃ
- 2025-11-19»îÐÔÌ¿Îü¸½Öؾ§Ê¯»ìºÏÎïÖеÄͺÍп
